设为首页
|
加入收藏
网站首页
机构设置
规章制度
服务指南
财务公开
资料下载
支部工作
内部事务
欢迎访问体育投注! 今天是:
机构简介
丨
领导班子
丨
科室设置
丨
联系我们
丨
政策法规
丨
税收政策
丨
综合财务管理
丨
日常报销管理
丨
教育经费管理
丨
科技资金管理
丨
收费管理
丨
财务系统应用指南
丨
办事指南
丨
业务流程
丨
帐号信息
丨
金融单位
丨
理论学习
丨
支部活动
丨
学习交流
丨
管理制度
丨
工作规范
丨
工作安排
丨
其他事务
丨
服务指南
财务系统应用指南
办事指南
业务流程
帐号信息
金融单位
您现在的位置:
首页
>
服务指南
> 业务流程
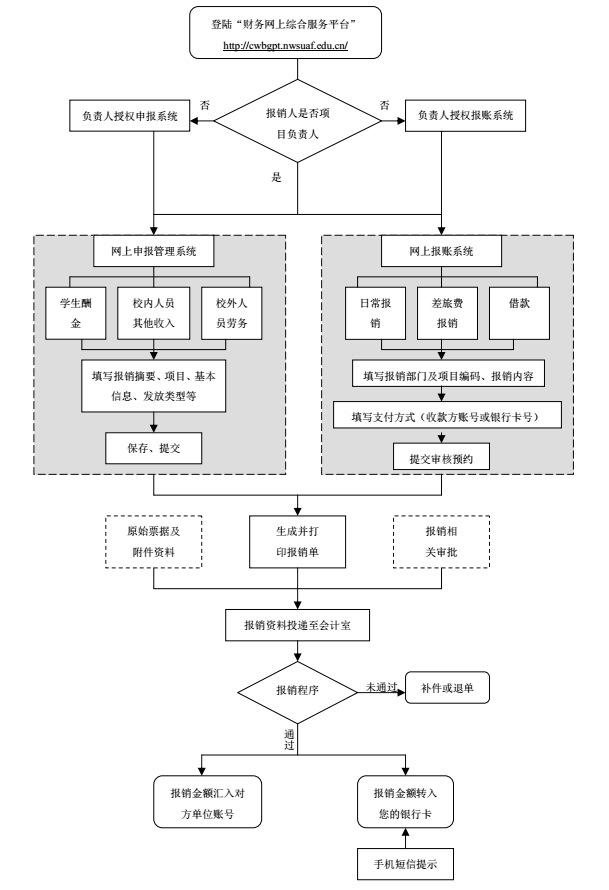
网上报账流程
作者: 来源: 发布日期: 2015-12-17 浏览次数:
【打印页面】
版权所有 体育投注
地址:陕西省杨凌邰城路3号 邮编:712100 总访问量:
电话:029-87082930(Fax) E-mail:jcc@nwsuaf.edu.cn
--------友情链接--------
科技部
南京农业大学
陕西师范大学
西北工业大学
长安大学
西安交通大学
西安电子科技大学
西北大学
中央财经大学
北京师范大学
北京外国语大学
中国人民大学
北京大学
清华大学
厦门大学
华中农业大学
中山大学
山东大学
西南财经大学
浙江大学
上海财经大学
中国人民银行
财政部
国家税务总局
教育部
中国农业大学
天津神州浩天科技公司